SS-V:2010 悬臂板的面内振动

测试编号:VM02 求出悬臂板平面内振动的基频。

定义



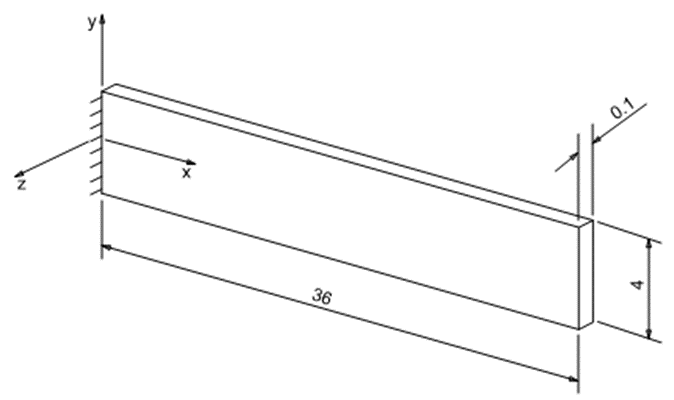
图 1.

为了排除板的平面外振动,其表面被约束在 z 轴方向 (Uz=0)。

单位为 IPS。

材料属性为:
属性
弹性模量
3e+7 psi
泊松比
0.3
质量密度
7.28e-4lb - s2/in4

结果

下表总结了频率结果。
  理论 SimSolid % 差异
基频[Hz] 101.33 100.30 -1.02%
1 Roark, R.J. 和 Young, W.C., Formula for Stress and Strain(应力应变公式), (New York:McGraw-Hill Book 6, 1982) pp. 576-578.